Jump to content

The Lioret Talking Doll: "On This Day in Phonographic History..."


Recommended Posts

Posted

"On This Day in Phonographic History..."

 

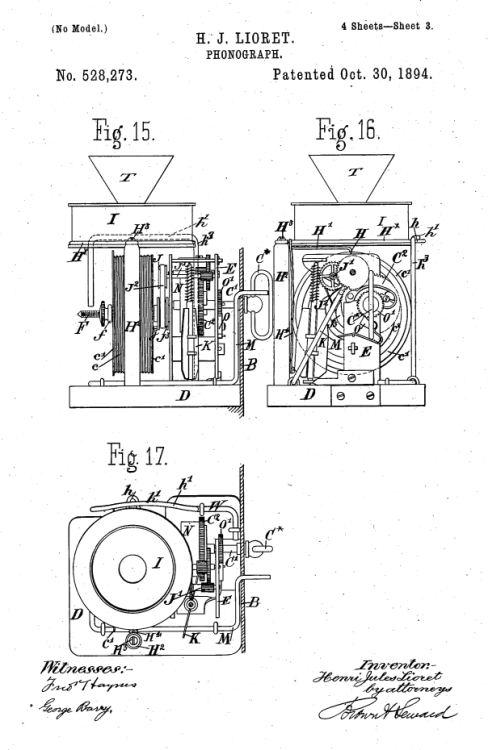
December 20, 1893: Henri Lioret filed for a U.S. patent for a talking doll, which was eventually manufactured as the “Bebe Jumeau.”  This was the first spring-driven talking doll using interchangeable cylinders (made of celluloid).

 

October 30, 1894: Henri Lioret was granted a U.S. patent (No.528,273).

 

#antiquephonographsociety #phonograph #gramophone #antique

 

Lioret.jpg.75b96b3191a2fc8c365850f263eb2b9f.jpg

 

Lioret528273Doll.thumb.png.bc581e7a6f25f842aed4657d925fec50.png

 

Lioret528273Doll2.thumb.png.d23f7672bd12a998bdf3df7772c1559f.png

  • Like 2

Create an account or sign in to comment

You need to be a member in order to leave a comment

Create an account

Sign up for a new account in our community. It's easy!

Register a new account

Sign in

Already have an account? Sign in here.

Sign In Now
×
×
  • Create New...