Jump to content

The Type N Graphophone: "On This Day in Phonographic History..."


Recommended Posts

Posted

"On This Day in Phonographic History..."

 

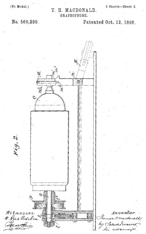
November 2, 1895: Thomas H. Macdonald filed for a U.S. patent for a “Graphophone.”  This device was the Type N Graphophone, the first popularly-priced ($40.00) talking machine.  Appearing in September 1895, the Type N was the first practical talking machine to successfully challenge Edison’s Class M Phonograph.

 

October 13, 1896: Thomas H. Macdonald was granted U.S. patent (No.569,290) for “Graphophone.” 

 

#antiquephonographsociety #phonograph #gramophone #antique

 

1172342627_Macdonald569290NGrapho.jpg.8cb1ef9b73cc63b6b9ddea15be52d861.jpg

 

1388688644_MacdonaldN1.thumb.jpg.6692e4071533dd04854bb08600da587a.jpg

 

1392192878_MacdonaldN2.thumb.jpg.51b2e21d9aec5b31477ba5b2d782d715.jpg

 

479183074_MacdonaldN3.thumb.jpg.2e7e49ecacd1af3d4b82fe4f81ab9e10.jpg

  • Like 1
Posted

This is one machine I have always wanted to own. Perhaps one day. Great post George!

Create an account or sign in to comment

You need to be a member in order to leave a comment

Create an account

Sign up for a new account in our community. It's easy!

Register a new account

Sign in

Already have an account? Sign in here.

Sign In Now
×
×
  • Create New...