Jump to content

The Edison Model D Repeater: "On This Day in Phonographic History..."


Recommended Posts

Posted

"On This Day in Phonographic History..."

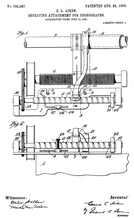
June 10, 1904:  Edward Aiken filed for a U.S. patent on a “Repeating Attachment for Phonographs.”  This would appear in October 1904 as the Edison Model D Repeater.

 

August 29, 1905: Edward Aiken was granted a U.S. patent (No.798,087) on a “Repeating Attachment for Phonographs.” The Edison Model D Repeater was used on home entertainment machines as well as coin-operated machines.

 

#antiquephonographsociety #phonograph #gramophone #antique

 

2008166534_Aiken798087Repeater.thumb.png.4289e2716dd1cd3fb93b4eb238e5357f.png

 

Triumph.thumb.JPG.5b3a6675d5a5890f79d7dcd9415b0d53.JPG

  • Like 3

Create an account or sign in to comment

You need to be a member in order to leave a comment

Create an account

Sign up for a new account in our community. It's easy!

Register a new account

Sign in

Already have an account? Sign in here.

Sign In Now
×
×
  • Create New...