Jump to content
Select Yearly Sets of APS Journal Back Issues Available For Purchase ×

The First Coin-Operated Phonograph: "On This Day in Phonographic History..."


Recommended Posts

Posted

"On This Day in Phonographic History..."

 

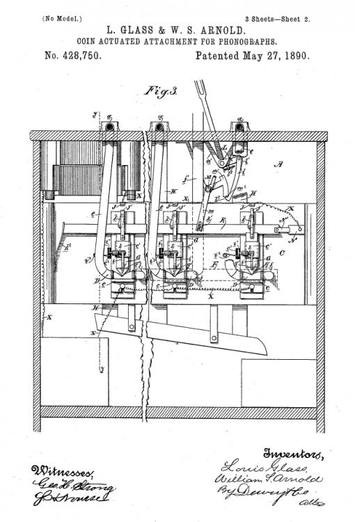
May 27, 1890: Louis Glass and William Arnold were granted a U.S. patent (428,750) for “Coin Actuated Attachment for Phonographs.”  This was the first coin-operated talking machine introduced to the public.

 

#antiquephonographsociety #phonograph #gramophone #antique

 

1704793076_GlassLouispatent1.thumb.png.8cdf446ea4fa98e56ff4d8319c90a648.png

 

434238854_GlassLouispatent2.thumb.png.634e92c282f5b9dac73c4b82d754f567.png

  • Like 3

Create an account or sign in to comment

You need to be a member in order to leave a comment

Create an account

Sign up for a new account in our community. It's easy!

Register a new account

Sign in

Already have an account? Sign in here.

Sign In Now
×
×
  • Create New...